RoHS対応

【廃番】アジャスタブルプレート

E-9679

仕様/価格

オーダーNo. No. 全長 全巾 全高 質量kg 価格 在庫設定 在庫情報 製品BOX CAD
DXF STEP
938210 EN412-1500 200 36 35 1.6 6,700 廃番 お問合わせ 追加 DL DL
938211 EN516-1500 250 48 40 3 8,500 廃番 お問合わせ 追加 DL DL

寸法図・サイズ表

選択 オーダーNo. No. A B C±0.01 D E F G H I J K
938210 EN412-1500 200 36 35 20 20 8 13 22 14 M12 0.01
938211 EN516-1500 250 48 40 25 25 8 17 23 18 M16 0.01

材質・熱処理・表面処理

名称 材質 熱処理 表面処理
【廃番】アジャスタブルプレート SCM420 焼入HRC60 黒染め

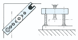
使用例