• ERON

RoHS対応

ダブルスイングクランプS型

E-9337S

仕様/価格

オーダーNo. No. クランプ
距離
クランプ
ストローク
最大操作
トルクN・m
最大締付力
kN
質量
kg
価格 在庫設定 在庫情報 製品BOX CAD
DXF STEP
950203 SD16 16 0-7 3 1.6 0.11 6,200 在庫 在庫〇 追加 DL DL
950204 SD18 18 0-9 8 2.2 0.14 6,550 在庫 在庫〇 追加 DL DL
950205 SD23 20 0-10 15 3.6 0.18 6,900 在庫 在庫〇 追加 DL DL
926799 SD35 36 2.5-14 40 6 0.27 12,200 在庫 在庫〇 追加 DL DL
926800 SD50 50 2.5-14 60 6.5 0.55 15,700 在庫 在庫〇 追加 DL DL

寸法図・サイズ表

選択 オーダーNo. No. A B C D E F G H I J(並目)x長さ K
950203 SD16 32 12 7 38 6 7 7 16 10-0.025 -0.061 M4x0.7x30 3
950204 SD18 36 16 9 46.7 8 9 8 18 14-0.032 -0.075 M6x1.0x50 5
950205 SD23 40 20 12 53.8 9 10 7 23 16 0 -0.05 M8x1.25x60 6
926799 SD35 72 32 22 82 17 19 19 37.5 25-0.005 -0.030 M12x1.75x90 19
926800 SD50 100 38 22 100 20 22 19 40.5 30-0.005 -0.030 M16x2x110 24

材質・熱処理・表面処理

名称 材質 熱処理 表面処理
ダブルスイングクランプS型 クランプバー・シリンダー:S45C クランプバー・シリンダー:焼入(HRC25-35) クランプバー・シリンダー:黒染め(四三酸化鉄被膜)

特長

安価でコンパクトなクランプです。
自在に旋回させれるので、ワークの着脱が容易に行えます。

構成図

SD16,SD18,SD23

 

  部品構成
ソケットスクリュー
球面座金
スイングヘッド
シリンダ
スプリング

 

SD35,SD50

 

  部品構成
ソケットスクリュー
球面座金
スイングヘッド
シリンダ
スプリング

使用方法

注意事項

 

両締めクランプですので、片側だけでクランプしないで下さい。

左右の差は表の通りです。
ワークのバラツキにご注意下さい。

 

左右の差
SD16 2
SD18 1
SD23 1.5
SD35 1.5
SD50 2.5

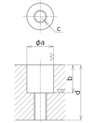
取付方法

取付加工寸法

 

 

a +0.07

0

b +0.6

   0

c(並目) d(min)
SD16 10 16.5 M4X0.7 22
SD18 14 18.5 M6X1 39
SD23 16 23.5 M8X1.25 44
SD35 25 34.5 M12X1.75 61
SD50 30 40.5 M16X2 76